Auxiliary view

Auxiliary view

Auxiliary view                          04/20/16

 

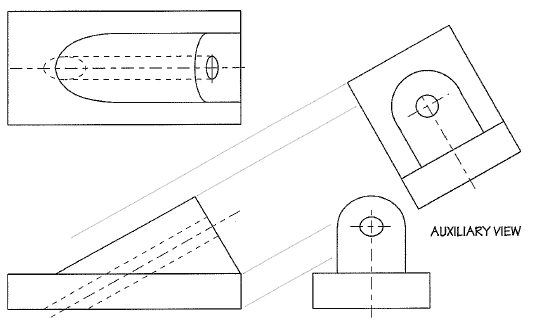
When doing Mechanical Engineering design, many parts often have slanted platforms. These platforms usually become distorted when created using the standard top-front-right views, so Auxillary views were created in response. Auxiliary views take a snapshot of the object from a viewpoint that is centered on the slanted object. This makes it so the object is much easier to visualize. Often, a partial auxillary view is often used so only the important details of the slant are seen (much of the non slanted slide of the part is often unnecessary and becomes distorted itself when viewed through the auxiliary view).

Leave a comment